Come smontare e montare il dispositivo di sicurezza della porta (asciugatrice)
Soluzione
Sicurezza
Tutti gli interventi da eseguire all'interno dell'apparecchio richiedono competenze e conoscenze specifiche e possono essere eseguiti solo da tecnici dell'assistenza qualificati e autorizzati
Questa piattaforma non è dotata di interruttore ON/OFF.
Prima di accedere ai componenti interni, staccare la spina dalla presa per scollegare l'alimentazione.
Alcuni componenti della parte meccanica potrebbero causare lesioni, indossare quindi protezioni adeguate e procedere con cautela.
Svuotare sempre l'apparecchio da tutta l'acqua prima di appoggiarlo su un lato.
Se è necessario posizionare l'apparecchio su un fianco per manutenzione o per altro motivo, appoggiarlo sul lato sinistro, per evitare il rischio che eventuali residui di acqua cadano sulla scheda principale.
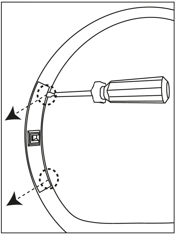
Smontare


Assemblare

Questo articolo è stato utile?
Articoli correlati
- Come smontare e montare l'interblocco di sicurezza della porta (5)
- Come smontare e montare l'interblocco di sicurezza della porta (1)
- Come smontare e montare l'interblocco di sicurezza della porta (2)
- Come smontare e montare l'interblocco di sicurezza della porta (3)
- Come smontare e montare l'interblocco di sicurezza della porta (4)